楚雄弊淘企业管理有限公司


  YZ型夹轨装置是靠弹簧和油缸作用力使夹轨臂夹住起重机行走轨道的两侧面的安全装置。它由一套独立的液压站供给液压油。该装置适用于起重机轨道两侧有足够的夹轨空间,当轨道与地面同高时,需经常清洁轨道两侧的地沟。

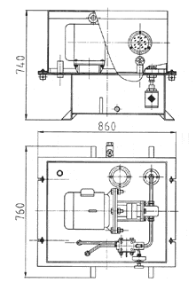
YZ型夹轨器液压站基本参数及外形尺寸

型号 泵流量L/min 公称压力MPa 电机功率KW 油箱容积L 控制元件
YZ70 10 14 4 80 单向阀,溢流阀,单向节流阀,电磁换向阀



地址:上海市普陀区武威路88弄21栋9楼 电话:(8621)54262221 传真:(8621)64707363 电子邮件:Shneh@shneh.com 邮编:200233
版权所有:上海五丰润滑成套设备有限公司
主站蜘蛛池模板: 武川县| 玉龙| 阿拉尔市| 苏尼特左旗| 隆尧县| 巩留县| 新巴尔虎左旗| 安溪县| 色达县| 交口县| 晋州市| 疏勒县| 长沙市| 康乐县| 韶山市| 清徐县| 濮阳市| 尼木县| 仁化县| 柳州市| 桑日县| 吉林市| 石门县| 玉山县| 宣威市| 北宁市| 和林格尔县| 怀化市| 奉节县| 桃园市| 长乐市| 田阳县| 广东省| 泰和县| 郑州市| 大余县| 江北区| 安宁市| 丹东市| 历史| 秦安县|